7月29日,中国驻加拿大大使馆发布了一个赴华乘客做核酸检测的通知,给大家带来了一个好消息:目前从加拿大直飞回中国的中国籍、外国籍乘客,暂时无需凭核酸检测阴性证明登机;中国公民仍可直接凭有小飞机标识的国际健康码登机!
中国驻加拿大大使馆官方网页写道:“自加拿大搭乘直飞航班赴华,或经未实施凭新冠病毒核酸检测阴性证明登机的国家中转赴华的中、外籍乘客,暂无需凭核酸检测阴性证明登机。中国公民仍可直接凭有小飞机标识的国际健康码登机。”
图源:中国驻加拿大大使馆
此外,中国驻温哥华总领馆也发布了相同信息。换言之,如果大家近期买到了从加拿大直飞回国的机票,可暂时不需要在登机前5天进行核算检测,而是凭“连续14天打卡的健康码”即可登机,回国变得容易了一些。
图源:中国驻温哥华总领馆
不过,如果是从加拿大出发,途径第三国家转机回国的中、外籍乘客,而且若这个第三国家已实施赴华乘客需凭核酸阴性证明登机措施,那么仍需提前在加拿大预约进行核酸检测,同时凭核酸检测阴性证明申领带“HS”标识的绿色健康码或健康状况声明书。航空公司将在乘客中转登机前予以查验。
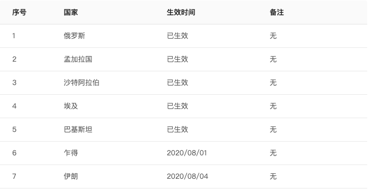
截至目前,需凭借核酸检测阴性证明登机的国家有7个,这些国家包括:
俄罗斯、孟加拉国、沙特阿拉伯、埃及、巴基斯坦、乍得、伊朗,途径上述国家中转时一定要确保健康码或健康状况声明书有效,否则将造成滞留。
而且这个国家名单是动态调整的,今后如果是中转返回中国,则需密切关注自己经停国家是否在名单之中。登陆https://hr.cs.mfa.gov.cn/help_two/help-two/gj.html即可查看。
图源:https://hr.cs.mfa.gov.cn/
与此同时,转机的朋友又该如何申报核酸码呢?新版防疫健康码国际版给出了答案。
小程序主页面中增添了「核酸码」入口,变成了两个申报入口:申报入口A——绿通码(绿码+小飞机)、申报入口B——核酸码(HS码)。
申报入口A-1,即为绿通码(绿码+小飞机),其功能未作出调整,用于连续14天逐日填报个人健康状况;新功能B-1,即为核酸码(HS码)入口,用于上传个人5日内核酸检测阴性证明,经过使馆复核后,可生成核酸码。需注意的是,中国公民与外籍公民的步骤有所不同。
中国公民在获得核酸检测阴性证明24小时内,应通过防疫健康码国际版微信小程序B入口,申报个人情况并拍照上传核酸检测阴性证明。经中国使领馆复核通过后,当事人可获得带“HS”标识的绿色健康码登机。
外国公民获得核酸检测阴性证明后,应将有效护照资料页、核酸检测阴性证明和申请人已签字的健康状况声明书的扫描件,根据驻加使领馆领区划分发送至各馆指定电子邮箱。使领馆审核通过后,以电子邮件方式将健康状况声明书扫描件发还申请人,申请人自行打印并携带至机场。
大家根据回国航程以及自身情况,选择适合的申报入口,并填写相关信息,在起飞前保障健康码正常申报,以免耽误行程。健康码入口的选择,可查看健康码申报入口上方的「申报入口指引」,查询后进行判断。
增加的这个「申报入口指引」还方便大家查询和了解个人的行程的健康码需求,即填写始发地、中转地(没有可不填)、目的地,查看其相关国家的健康码要求后,再选择相应的健康码入口进行填报。
更高级的是,新版国际健康码新增了防伪技术,健康码页面设置了4个随时变化的点,当前页面即当时有效,之前提前截图的操作,当前健康码就无法使用了;同时,新版国际健康码还增加了英文字样,以便外航地勤进行核查。所以想P图作假蒙混过关的还是别想了,按照规定流程操作对自己负责,也是对身边的人负责。
最后必读掌柜再给大家汇总下,8月各个航空公司往返中加的9条航线:
国航CA992:温哥华-北京
图源:国航官网
南航CZ330:温哥华-广州(每周两班)
图源:南航官网
厦航FM806:温哥-厦门
川航3U8502:温哥华-沈阳-成都
东航MU208:多伦多-上海
海航7976 :多伦多-北京(每周两班)
图源:海航官网
以及上周加航官宣的,从8月7日开始每周一班从温哥华-上海往返航班。
图源:加航官网
总的来说,8月航班数比之前有所增加,最黑暗的时刻已经过去,希望漫漫回国路变得越来越容易,也望回国的朋友们都平安顺利。













































