总算是实锤了!中领馆终于更新了接种海外疫苗领取健康码的步骤。也就是说,打了海外疫苗,也能回国了。
不过要提醒大家,有以下两个细节必须关注:
1、除了双检测外,还必须加上N蛋白检测报告。
2、回国入境限制令仍然没有解除。
此前,中国公布信息:为注射国产疫苗的人士来华提供便利。随后,中国驻加拿大使馆也发布官宣《关于对已接种国产疫苗人员来华提供签证便利的通知》。
通知表示,为有序恢复中外人员往来,中国驻加拿大使领馆对已接种中国生产的新冠肺炎疫苗并持疫苗接种证明材料的签证申请人员提供便利。
而疫苗的接种规则为:接种中国生产的灭活疫苗并按规定间隔打完两针,或者接种中国生产的其他类型单针疫苗满14天。
这无疑是一项重大利好,但是大家很快就发现,政策真是好政策,但人在海外想注射国产疫苗真的不是那么容易。
所以,海外华人回国路依旧艰难漫长。
目前,具体方案终于出来了,中国驻美国大使馆最新发布了《关于接种新冠疫苗后乘机赴华人员检测要求的说明》,中国驻洛杉矶总领事馆也发布了《已接种疫苗人员赴华检测及申请健康码安排》,美国方面的规定出台,想必加拿大这边也应该很快了。
按照这份最新通知:
目前驻美国大使馆仍负责审核乘达拉斯航班赴华乘客的“双检测”证明,现再次提醒大家慎重考虑疫情期间的感染风险,务必牢记“非必要,非紧急,不旅行”。同时,对确有紧急旅行需要且因接种新冠疫苗而IgM抗体检测呈阳性的乘客检测相关要求作出进一步规范和说明:
一、如接种灭活疫苗后核酸检测阴性、IgM抗体检测阳性,可正常申请健康码。请点击附件下载《疫苗接种声明书》,如实填写并手写签署后,连同“双检测”证明以及疫苗接种证明一并通过“健康码”小程序或网页上传供审核。
二、接种非灭活疫苗人员。
(一)美国现有的辉瑞(Pfizer)、莫德纳(Moderna)、强生(J&J)均属非灭活疫苗。按要求,辉瑞、莫德纳疫苗需接种二剂,强生疫苗需接种一剂。拟赴华人员如选择接种,需在完成规定接种次数后安排赴华行程。
(二)目前“双检测”中IgM抗体检测主要为针对S蛋白的IgM抗体检测,接种非灭活疫苗后,针对S蛋白的IgM抗体检测可能出现阳性结果。为区分出现阳性系接种还是感染所致,已完成非灭活疫苗接种的自达拉斯赴华乘客,如针对S蛋白的IgM抗体检测结果为阳性,在申请健康码时,除提交机票或行程单、“双检测”报告外,还应上传针对N蛋白的IgM抗体检测报告、《疫苗接种声明书》、接种凭证。有关凭证应真实,且尽可能包括必要信息,有助于确定个人身份,判定疫苗种类及接种情况。
(三)驻美国使馆接受的核酸、抗体检测实验室的最新名单见附件,如需,乘客可自行选择名单中的提供针对N蛋白的IgM抗体检测的实验室进行检测。请注意,此项检测也须在登机前48小时内在起飞地完成采样。另,在检测时请告采样机构、检测实验室同意向使馆公布检测结果等个人信息。使馆将就“双检测”、针对N蛋白的IgM抗体检测结果、接种凭证与出具机构进行核实。对无法判定接种情况属实的、申报不实、或接种凭证或检测报告造假的,将不予核发健康码,由此引起的一切责任应由当事人自行承担。
必须加测N蛋白
根据文中的最新表述,回国领取健康码步骤应该如下:
现有的辉瑞(Pfizer)、莫德纳(Moderna)、强生(J&J)都属于非灭活疫苗,必须完成规定接种次数后,才能安排回国行程,也就是该打两针的必须打完两针,只打一针是不可以的。
而打过这种非灭活疫苗后,IgM检测可能出现阳性结果,那么为了区分出现阳性是接种疫苗导致的,还是感染新冠病毒导致的,那么你就还需要再多做一个检测——加测N蛋白。
怎么加测呢,就还是在指定“双检测”机构采样时,你和采样工作人员如实申报接种情况,向采样人员出示你的接种凭证,同意检测机构在IgM为阳性时自动加测N蛋白。
如果已接种疫苗且IgM结果为阳性的,那么你在申请健康码时,除按照既有规定提交机票或行程单,还应提交“双检测”+N蛋白检测报告,这几种检测结果都可以在一份报告中显示,然后还要提交《疫苗接种声明书》,并尽可能上传必要接种凭证。
此后,使领馆在审核健康码时,将就“双检测”和N蛋白检测结果与指定机构进行全量核实,并对接种凭证进行审核,必要时联系凭证出具单位进行核实确认。
回国乘客可自行选择官方认可的提供针对N蛋白的IgM抗体检测实验室,检测须在登机前48小时内在起飞地完成采样。
总结来看,在海外接种疫苗后回国,需要签署提交以下文件:
疫苗接种声明书
接种凭证
核酸检测报告
IgM抗体检测报告
以及机票或行程单
尽可能包括必要信息,方便确认个人身份,判定疫苗种类和接种情况。
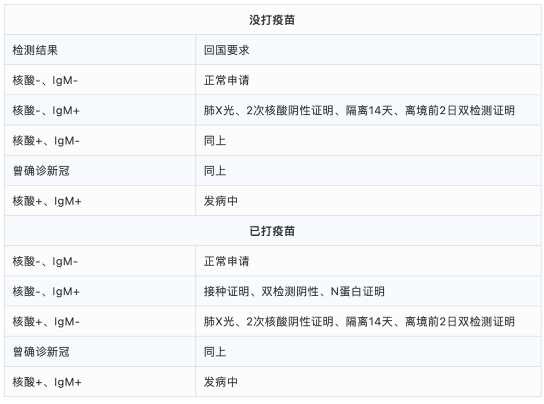
简单来说,目前回国申领健康码总体情况总结如下:
对于新增加的《疫苗接种声明书》,驻美使馆官网已经给出模板,有需求可以自行下载:
此外,接种疫苗后,对于血清抗体IgM是否一定会阳性?多久会转阴?有内行网友做出解释,小编整理如下,希望能够帮助大家:
接种完疫苗之后,在一段时间内(依个人体质,几周到几个月不等)IgM会呈阳性(主要是S蛋白抗体),之后IgM会转阴,而IgG会继续阳性,也就是疫苗的保护效力。当然,也有少数人接种了疫苗之后不产生抗体,那IgM会一直阴性……
总体来说,这次使领馆的最新通知,就是在接种海外疫苗后要加测N蛋白。
这项最新出台的安排也是对接种人员检测及申请健康码做出的安排,其他和原来没有太多区别,也尚不能因为接种疫苗就可以免除入境隔离,但疫苗已经在全球范围内快速推进,以后海外华人回国,总归是会越来越容易吧。















































